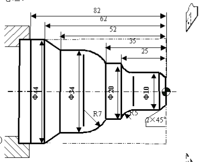
数控车床操作外径粗加工复合循环编制图所示零件的加工程序:要求循环起始点在A(46,3),切削深度为1.5mm(半径量)。退刀量为1mm,X方向精加工余量为0.4mm,Z方向精加工余量为0.1mm,其中点划线部分为工件毛坯。

%3327
N1 G59 GOO X80 Z80 (选定坐标系G55,到程序起点位置)
N2 M03 S400 (主轴以400r/min正转)
N3 G01 X46 Z3 F100 (刀具到循环起点位置)
N4 G71 U1.5R1 P5 Q13 X0.4 Z0.1 (粗切量:1.5mm精切量:X0.4mmZO.lmm)
N5 GOO XO (精加工轮廓起始行,到倒角延长线)
N6 G01 X10 Z-2 (精加工2X45°倒角)
N7 Z-20 (精加工中10外圆)
N8 G02 U10 W-5R5 (精加工R5圆弧)
N9 G01 W-10 (精加工中20外圆)
N10 G03 U14W-7R7 (精加工R7圆弧)
N11 G01 Z-52 (精加工中34外圆)
N12 U10 W-10 (精加工外圆锥)
N13 W-20 (精加工中44外圆,精加工轮廓结束行)
N14 X50 (退出已加工面)
N15 G00 X80 Z80 (回对刀点)
N16 M05 (主轴停)
N17 M30 (主程序结束并复位)


